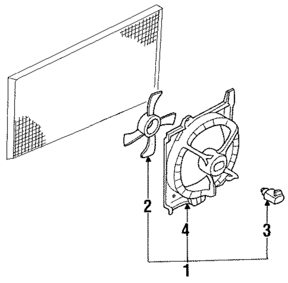
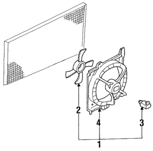
Shroud - Nissan (21483-58Y25)
21483-58Y25 Nissan
Shroud - Nissan (21483-58Y25)
21483-58Y25 Nissan

Information Regarding Vehicle Fitment
Please note that part listings and vehicle fitment/application listings on our site are not comprehensive, and are not as accurate as the Nissan proprietary catalog from Nissan we use to verify fitment according to your VIN. Please be sure to enter your VIN on every order so that we can verify that the parts you chose are, in fact, a correct fit for your vehicle. Without the VIN included on the order, we cannot guarantee that the parts selected will fit your vehicle, even if the website says they will. If no VIN is included on the order, the customer will be responsible for return shipping cost and/or any applicable restocking fees for any parts returned. Help us to help you get your order right the first time by including your VIN. Please also note that all diagrams and line drawings on our site are for reference only, and are not an exact depiction of each part (including side specific items...one side may be shown for reference, even when ordering the opposite side). If you have any questions or are in any way confused by anything on our site, please do not hesitate to click "contact us" at the bottom of the page, click the "Chat Now" link, or send us an e-mail, and we will be happy to help!
L.H. or Left is the Driver’s side and R.H. or Right is the Passenger’s side for US vehicles
Also Purchased
Vehicle Fitment
| Year | Make | Model | Body & Trim | Engine & Transmission |
|---|